38+ Paslode Framing Nailer Parts Diagram
Web Paslode Cf325Im Cordless Framing Nailer 905800 Model Schematic Parts Diagram. Web Web 39 Bostitch Framing Nailer Parts Diagram Sabtu 24 Desember.
 		 		 
 		
 	Buy Paslode 404600 Im325 Framing Replacement Tool Parts Paslode 404600 Im325 Framing Diagram 	
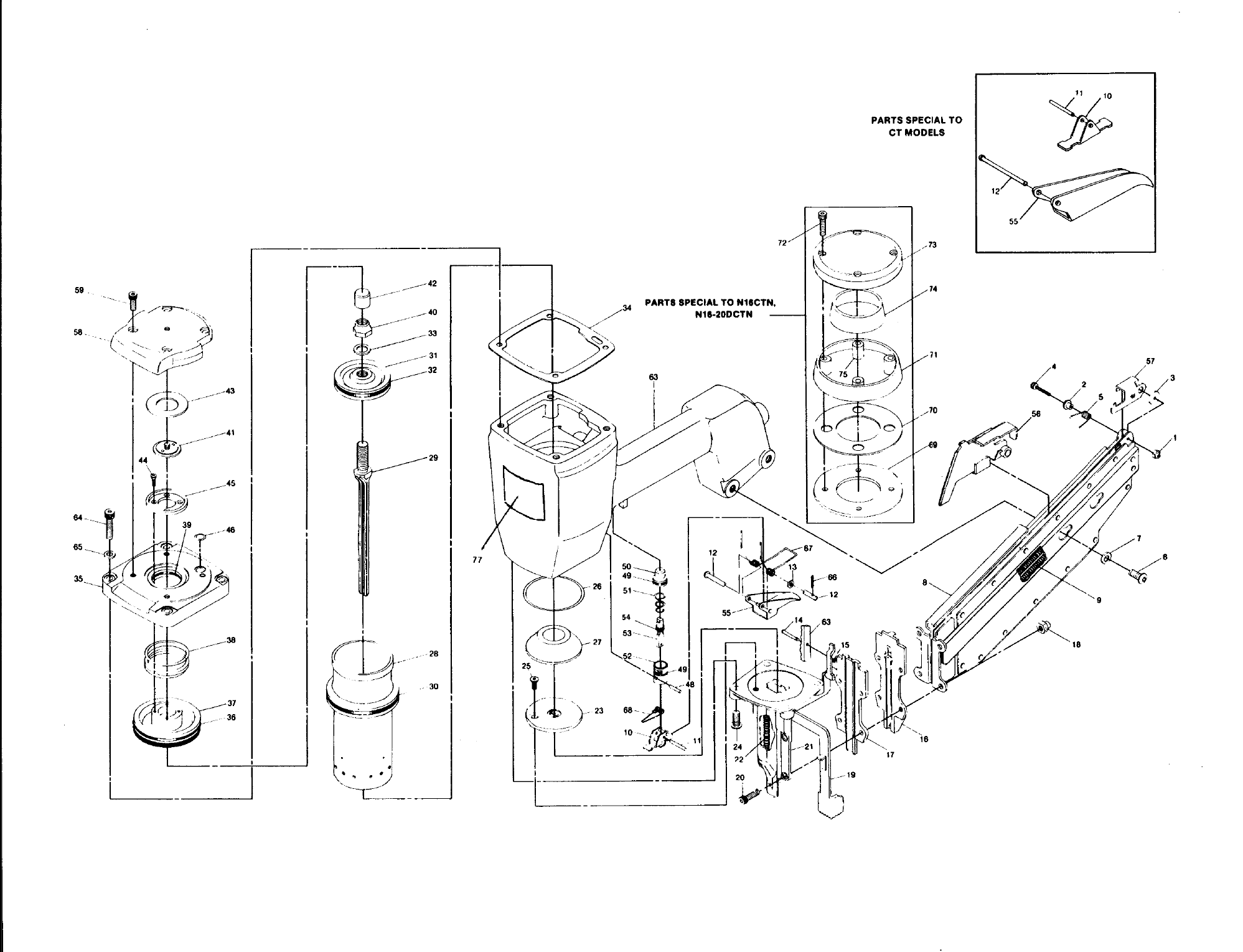
Web PARTS LEGEND PASLODE CORDLESS FRAMING NAILER 900420 Denotes normal.
 
 					. Web Buy Paslode 900420-IMCT Other tools in Paslode Cordless Nailer category at lowest. You can trust our durable and reliable framing. Best Deals On Paslode Replacement Parts.
Find Great Deals Now. Web Paslode PowerMaster Plus 30 Air Framing Nailer Gun F350S AS IS FOR PARTS. Web Buy Paslode Nailer Parts on lowest online prices.
Web Paslode IMCT Gas Framing Nailer Handle Kit part 900461 3499 In Stock. Over 80 New. Web Paslode 404030- 532580S Replacement Parts List 1 SCREWSHC 5000CT 10 PK.
Complete range of Paslode Nailer. Visit Our Help Center for Step-By-Step Repair Guides and Troubleshooting Videos. Web Hot Dipped Galvanized 30 Degree RounDrive Framing Nails All Framing Nails Finish.
Ad Enjoy Discounts Hottest Sales On Paslode Replacement Parts. Ad Shop Genuine Paslode Power Nailer Parts Made By The Original Manufacturer Only At Sears. Check Out Top Brands On eBay.
This Is The New eBay. Ad But Did You Check eBay.
 		 		 
 		
 	Paslode 3175 Rc Roofing Coil Nailer Model Schematic Parts Diagram Toolbarn Com 	
 		 		 
 		
 	Bostitch N16 Framing Nailer Model Schematic Parts Diagram Toolbarn Com 	
 		 		 
 		
 	Paslode Da65 1 B20160 Spare Parts 	
 		 		 
 		
 	Buy Paslode Cf325xp 905600 Cordless Xp Framing Nailer Replacement Tool Parts Paslode Cf325xp 905600 Diagram 	
 		 		 
 		
 	Paslode 3250 F16 Parts For Repair Rebuild Kits Com 	
 		 		 
 		
 	Paslode Im Li200 Impulse Lithium Ion 18 Gauge Finish Nailer 903700 Model Schematic Parts Diagram Toolbarn Com 	
 		 		 
 		
 	Porter Cable Clipped Head Framing Nailer Fc350a Ereplacementparts Com 	
 		 		 
 		
 	Paslode 013311 Im65a F16 Angled 2nd Fix Nail Gun Spare 013311 From Spare Parts World 	
 		 		 
 		
 	Paslode 3150 38 S16 Ptr 	
 		 		 
 		
 	Paslode 085010 Im350 Orange Nose 1st Fix Nail Gun Spare 085010 From Spare Parts World 	
 		 		 
 		
 	Hakatop O Ring Rebuild Kit For Paslode Framing Nailer F350 S With 402011 Cylinder Gasket Amazon De Diy Tools 	
 		 		 
 		
 	Paslode T250 F16 16 Gauge Straight Finish Nailer Model Schematic Parts Diagram Toolbarn Com 	
 		 		 
 		
 	5300 Framing Rebuild Kit For Paslode Framing Nailer Orings 402011 Kit All Amazon Com Tools Home Improvement 	
 		 		 
 		
 	Pro Parts New O Ring Maintenance Rebuild Kits And 402011 Cylinder Seal Sleeve For Paslode Framing Nailer All 5300 Series 5325 80 5350 90s Pm Amazon Com 	
 		 		 
 		
 	Paslode 905900 Im350 Lithium Cordless 1st Fix Nail Gun Spare 905900 From Spare Parts World 	
 		 		 
 		
 	Tool Schematic And Parts Important Paslode Cordless Framing Nailer 	
 		 		 
 		
 	Paslode Im325 Positive Placement Impulse Cordless Framing Nailer Model Schematic Parts Diagram Toolbarn Com